1. 产品概述
柜台管理员通过使用期货极速柜台管理端,可进行账户管理(开户、权限管控等)、报盘管理、盘中出入金、信息查询(委托持仓等信息)等一系列操作。
2. 启动和登录
2.1. 启动
双击 start.bat 进入登录界面

2.2. 连接地址配置
- 点击登录界面右上角齿轮图标,进入地址配置界面

- 点击“新增”按钮,进入新增地址界面,输入名称、地址、端口后点击确认

- 配置地址后,可点击“测试”,测试地址连通性
2.3. 登录
地址配置成功后,在登录界面输入操作员账号和密码进行登录,登录成功后界面显示如下

3. 客户管理
3.1. 投资者开户
- 进入公用 -> 客户管理 -> 客户设置界面

- 点击“新增”按钮,进入开户界面。填入投资者代码(资金账户)、经纪公司代码(营业部号),按客户需求勾选裸协议权限和FPGA权限,设置分资金比例。

启用裸协议权限(T+1生效):勾选后,账户可以使用API裸协议报单功能(EFVI或普通UDP协议),显著提升上行报单性能
启用FPGA权限(T+1生效):勾选后,账户可以使用柜台回报加速功能(柜台需另外部署回报加速服务端),显著提升下行回报到达客户端的性能
账号分资金比例(T+1生效):按比例继承账户在主席的权益。默认为1,完全继承账户在主席的权益。假设设置为0.5,则账户在本极速柜台继承50%的主席权益
- 开户后,点击“修改”按钮可修改对应账户的权限和资金比例等配置
3.2. 客户授权(接入ID和认证码管理)
- 进入公用 -> 客户管理 -> 客户授权管理界面

- 新增客户授权:点击“新建”按钮,在“投资者管理“弹框中输入接入方ID、接入方名称,选择接入方类型和有效状态。

接入方ID:用于标识接入的客户终端,由经纪公司指定设置
认证码:用于匹配接入方ID,相当于接入方ID的密码,新增授权管理时系统会自动生成
接入方名称:用于描述接入方ID的备注名称信息,不影响客户接入,可自行设置
接入方类型:nano柜台固定选择直连模式
有效状态:用于标识是否启用当前接入方ID,处于“有效“状态时表示启用
- 修改和删除客户授权:每条授权记录末尾有操作选项,选择其中的“修改”或“删除”操作
3.3. 客户报单设置
客户报单设置界面用于查询和设置资产账户的报单次数限制。
此处的报单次数限制是指资产账户下每个合约的最大报单次数,只统计成功报送到交易所的报撤单(不包含废单)。
当天某个合约的报撤单总数超过限制次数时,后续该合约的报单将被柜台拦截。如客户要求突破限制报单,经纪公司可在盘中实时修改次数限制并生效。但修改仅在本交易日内生效,次日将恢复默认次数限制。
进入公用 -> 客户管理 -> 客户报单设置界面

3.4. FPGA接入管理(回报加速设置)
FPGA接入管理界面用于设置回报加速服务信息,仅在柜台开启回报加速时需要设置。
进入公用 -> 客户管理 -> FPGA接入管理界面

- 新增回报加速接入:点击“新增”按钮进入“FPGA接入信息管理”弹框,设置回报加速服务端的IP、端口、密码和交易所类别。新增后T+1日生效,并且每个柜台只能配置一条回报加速接入信息。

IP地址:回报加速服务端IP地址
端口:回报加速服务端所在的端口
密码:回报加速服务端的接入密码
交易所类别:回报加速服务端部署的对应交易所类别
- 修改和删除:选择接入信息记录末尾的“修改”或“删除”操作选项进行对应操作。
4. 报盘管理
4.1. 报盘参数
进入公用 -> 报盘管理 -> 报盘参数管理界面,可新增/修改报盘配置。
点击新增报盘按钮后,进入报盘信息设置。报盘设置较为重要和复杂,请联系恒生人员提供支持。

4.2. 报盘状态
进入公用 -> 报盘管理 -> 报盘状态管理界面,选中指定报盘,可执行启动/停止报盘操作。
执行操作后,在右侧界面可看到报盘的当前状态(可点击刷新按钮更新状态),正常启动报盘后,会显示席位登录成功。

5. 资金红冲蓝补(出入金)
资金红冲蓝补(出入金)功能用于盘中手动调整账户资金并实时生效。
- 进入期货 -> 期货参数 -> 资金红冲蓝补界面,输入资产账号,点击“查询”按钮,可查看账户的当前资金和可用资金

- 出入金:在资金调整栏选择调整方向(调增或调减),输入调整资金,再次输入校验资金(数额必须等于之前输入的调整资金),填入备注信息,点击“确认“按钮。正常会收到资金调整成功通知,并在页面下方显示资金流水
6. 看穿式查询
看穿式查询界面用于查看登录过的客户资金账号、接入AppID和看穿式采集等信息
- 进入期货 -> 期货参数 -> 看穿式查询界面,界面展示登录过的客户资金账号、接入AppID和看穿式采集等信息

- 监控中心上报文件:客户认证登录后,在柜台环境syncdbdata/当前交易日期目录下自动生成监控中心上报文件,文件名类似 2071clientinfo20240408.txt
7. 客户信息和交易数据查询
7.1. 账户信息
进入期货->期货单客户查询->基本信息查询界面,输入资产账号,点击下方"账户信息"进行查询。
- 资产账户界面:用于查看指定资产账号的基本信息,包括账号状态、交易日、境内境外标志、允许委托方式等。

- 客户费用界面:用于查看指定资产账号的手续费设置。
- 客户保证金界面:用于查看指定资产账号的保证金设置。
- 交易编码界面:用于查看指定资产账号在各个交易所的交易编码和适当性权限。

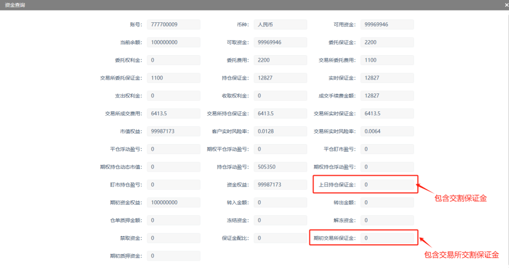
7.2. 资金查询
进入期货->期货单客户查询->基本信息查询界面,输入资产账号,点击常规查询下的资金查询。

双击记录,可显示详细资金信息。

7.3. 持仓汇总查询
进入期货->期货单客户查询->持仓汇总查询界面,输入资产账号和可选的合约代码进行查询。

7.4. 委托查询
进入期货->期货单客户查询->委托查询界面,输入资产账号和可选的合约代码、委托引用、交易所类别、委托号主场单号等进行查询。

7.5. 成交查询
进入期货->期货单客户查询->成交查询界面,输入资产账号和可选的合约代码、交易所类别进行查询。

7.6. 撤单查询
撤单查询界面用于查看指定资产账号的撤单记录。
进入期货 -> 期货单客户查询-> 撤单查询 界面,输入资产账号(必要)、合约代码(可选)、交易所类别(可选),点击查询。

7.7. 持仓明细查询
进入期货->期货单客户查询->持仓明细查询界面,输入资产账号和可选的合约代码进行查询。

7.8. 组合委托查询
进入期货->期货单客户查询->组合委托查询界面,输入资产账号和可选的合约代码、交易所类别进行查询。

8. 公共参数查询
8.1. 合约明细查询
合约明细查询界面用于查看合约代码的涨跌停价、结算价、合约乘数等合约详细信息。
- 进入期货->期货参数->合约明细查询界面,界面显示交易所类别和该交易所的期货合约代码等信息

- 选中交易所后,可以输入指定的期货合约代码,并双击显示的合约记录,获得期货合约的合约明细

8.2. 合约模板查询(合约品种/产品代码)
合约模板查询界面用于查看合约模板的市价单和限价单的最大和最小报单量、特定品种标志等信息
- 进入期货->期货参数->合约模板查询界面,界面显示交易所类别和该交易所的期货合约模板等信息

- 选中交易所后,双击显示的合约模板记录,可以获得模板的详细信息

8.3. 公司费用查询(手续费)
公司费用查询界面用于查看期货公司收取的手续费比例、手续费、平今仓手续费率、平今仓手续费、交易所倍数等信息
进入期货->期货参数->公司费用查询界面,可选交易所类别和合约代码进行查询

8.4. 公司保证金查询
公司保证金查询界面用于查看期货合约的期货公司保证金配比和期货公司保证金等信息
进入期货->期货参数->公司保证金查询界面,可选交易所类别和合约代码进行查询

8.5. 交易所保证金查询
交易所保证金查询界面用于查看期货合约的交易所保证金配比和交易所保证金等信息
进入期货->期货参数->交易所保证金查询界面,可选交易所类别和合约代码进行查询

